- Produktbeskrivning
-
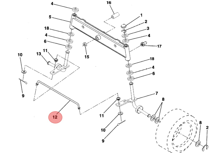
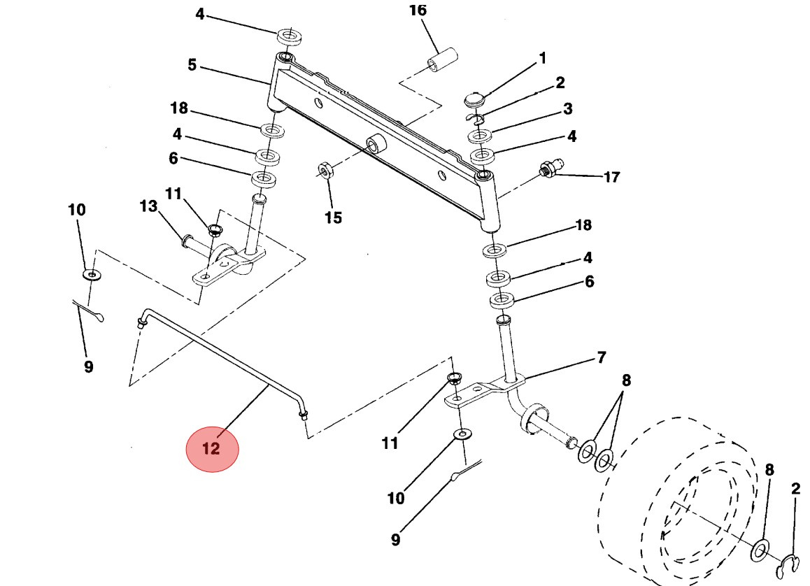
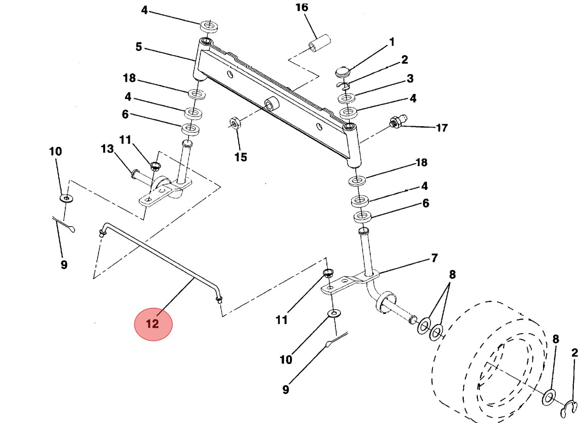
Stag, 5321927-57
Reservdel från Husqvarna
Passar till bl.a:
Husqvarna LR 110 (954001232C)
Husqvarna LR 120 (HFLR112J, HFLRC112F)
Husqvarna LR 121 (954140001, 954140001A, HCLR120A)
Husqvarna LR 122 (954140014A, 954140014B, 954140105A, 954140105B)
Husqvarna LR 130 (HFLR113D)
Husqvarna LRH 130 (HA13H36A, HA13H36B, LRH130)
Husqvarna LT100, LT112 & LT120
Husqvarna LT 125 (954170001, HAU12536A, HAU12536B, HAU12536C, HE12536C, HE12536D, HE125F36A, HELT125A, HELT125B, HELT125C, HELT125E, HELT125F)
Husqvarna LT 130 (HALT130J, HE1336B, HE1336D, HE1336H, HELT130A, HELT130B, HF13C36C, HF13C36E, HF13C36F)
Husqvarna LT 131 (96011026400, 96011026401, 96011026402, 96011026403, 96011026404, 96011026405, 96011026406, 96011026407, 96011026500, 96011026501, 96011026502, 96011026503)
Husqvarna LT 135 (954170042, HELT135A, HELT135B)
Husqvarna LT 140
Husqvarna LT 141 (96011029400, 96011029401, 96011029402, 96011029403, 96011029404)
Husqvarna LT 1238 (954567024, LT1238A, LT1238B, LT1238C, LT1238D)
Husqvarna LT 1538 (954569776, HAUB1538B, LT1538A, LT1538B, LT1538C, LT1538D)
Husqvarna LT 16542 (96013001900)
Husqvarna LT 18542 (954571748, 96013000400, LT18542A, LT18542B)
Husqvarna LTH 120 (954140003, 954140003B, 954140003C, 954140003D, 954140003E, 954140003F, 954140106A, 954140106B, HCLTH120A, HCLTH120B)
Husqvarna LTH 125 (HELTH125A, HELTH125B, HELTH125C, HELTH125D, HELTH125E)
Husqvarna LTH 130 (HALTH130C, HE13H36D, HE13H36F, HE13H36H, HE13H36J, HELTH130A, HELTH130B)
Husqvarna LTH 141 (96011030100, 96011030101, 96011030102)
Husqvarna LTH 1342 (954567031, 954568519, LTH1342A, LTH1342B, LTH1342C, LTHK1342A, LTHK1342B)
Husqvarna LTH 1542 (96013000900, HAUB15H42A, HAUB15H42B)
Husqvarna LTH 1742 (9545703762A2B2C2D)
Husqvarna LTH 2042 (954571953, LTH2042A, LTH2042B, LTH2042C)
Husqvarna LTH 18542 (954571731, LTH18542A, LTH18542B, LTH18542C)
Husqvarna YT 130 (HEYT130B, HEYT130J, HEYT130K)
Husqvarna YT 150 (954820031, HEYT150A, HEYT155D, HEYT155E, HEYT155G, HEYT155H, HEYT155J)
Husqvarna YT 155 (954170011, 954170025, 954170063, HEYT155B, HEYT155D, HEYT155K, HEYT155L, HEYT155M)
Husqvarna YT 160
Husqvarna YT 180
Husqvarna YTH 130 (954170006, 954170026, HEYTH130G, HEYTH130K, HEYTH130L, YTH130)
Husqvarna YTH 135 (954170044, 954170081, HEYTH135A, HEYTH135B, HEYTH135C, HEYTH135D)
Husqvarna YTH 1542 XP (96013000100, 96013000101)
Husqvarna YTH 2042 (96013000601)
Jonsered
Jonsered LR 10
Jonsered LR 11 (J8E11536A)
Jonsered LR 12 (J1236L, J1236M)
Jonsered LR 12C (954820181)
Jonsered LR 12U
Jonsered LR 13 (J81336C, J813C36A, J813C36B, J8F1336TA, J8F1336TB, J8F1336TC)
Jonsered LR 13A (J813H36C, J8F13H36TC)
Jonsered LR 13B (J813C36C, J813C36D)
Jonsered LRH 13
Jonsered LT 12 (JLT12A, JLT12B, JLT12C, JLT12D, JLT12E, JLT12F)
Jonsered LT 13 (J81342C, J81342E, J81342F, JLT13A, JLT13B, JLT13C, JLTA13A, JLTA13B, JLTA13C, JNA13A, JNA13HA)
Jonsered LT 14 (954130058, 954130059, JLT14A, JLT14B, JLTA14A, JLTA14B)
Jonsered LT 15 (954130036, 954130037, J15H42E, J15H42F, J15H42G, J15H42H, J15H42J, J15H42K, J8F1542E, J8F1542F, J8F1542H, J8F1542J)
Jonsered LT 16 (954130060, 954130061, 954130085, JLT1642A, JLT1642B, JLT16H42A, JLT16H42B, JNA1642A)
Jonsered LT 2112 (954130087, J2112A)
Jonsered LT 2113 (96011026600, 96011026601, 96011026602, 96011026603, 96011026604, 96011026605, 96011026606, 96011026607, 96011026608, 96011026700, 96011031001)
Jonsered LT 2114 (96011029300, 96011029301, 96011029302, 96011029303, 96011029304, 96011030200, 96011030201, 96011030202, J2114A, LT2114, LT2114A)
Jonsered LTH 13
Jonsered LTH 15 (954130004, 954820171)
Partner
Partner P11597 (96011019300, 96011019301, 96011019302, 96011019303, 96011019304, 96011019305, 96011019306, 96011019307)
Partner P12597 (96011019101, 96011023900, 96011023901, 96011023902, 96011023903, 96011023904, 96011023905, 96011023906, 96011023907, 96011023908, 96011023909)
McCulloch M165-107T (96011021301)
M1638 (96011021301)
McCulloch M11597 (96011023400, 96011023401, 96011023402, 96011023404, 96011023405, 96011023406, 96011023407, 96011023408, 96011023409, 96011023700)
McCulloch M12538 (96011030300)
M12597 (96011029700)
McCulloch M13538 (96011024401)
M13597 (96011023500, 96011023502, 96011023801, 96011023804, 96011029600)
MC13538LT (96012010300, 96012010301)
McCulloch MC17107 (96011008400, 964773302, 964779700, BA17107A, BA17107B, BA17107C)
McCulloch MC18542LT (96012010400)
McCulloch MC19542LT (96012011400)
Vill du söka bland Husqvarna sprängskisser & reservdelar? Använd då vår reservdelskatalog. Tryck här för att komma till reservdelskatalogen. Tänk på att du alltid ska säkerställa att artikelnumret blir rätt med hjälp av sprängskissen för din maskin. - Specifikationer
-
Tillverkarens artikelnummer: 532 19 27-57 , 532192757 - Filer
Prishistorik
Nedan finner du prishistorik för denna produkten de senaste 30 dagarna.
Vårt lägsta pris 1-30 dagar innan sänkning:

Uk - GBP
Sweden - SEK

